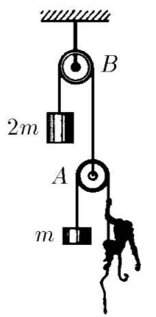
Обезьяна массы m уравновешена противовесом на блоке А. Блок А уравновешен грузом массы 2m на блоке B. Система неподвижна. Как будет двигаться груз, если обезьяна начнет равномерно выбирать веревку со скоростью u относительно себя? Массой блоков и трением пренебречь.

Уже третий день не могу решить, все время выходит противоречие(
